Inhalte und Referenten:
Block 1 (1,5 h) Stabilitätsnachweise stabförmiger Bauteile
Prof. Dr.-Ing. Hartmann
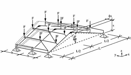
Im Impulsvortrag werden die relevanten Lastkombinationen sowie die anzusetzenden Imperfektionen und Materialeigenschaften, Letztere auch für den Brandfall, thematisiert.Es wird auf die Möglichkeiten und Grenzen der Anwendung des Ersatzstabverfahrens für im Ingenieurholzbau häufigere Sonderfälle wie Dreigelenkrahmen geknickte Träger, Bögen, Kuppeln und Dreigelenkrahmen eingegangen.
Block 2 (1,5 h) Genauere Nachweise
Prof. Dr.-Ing. Blaß
Analog zu Block 1 werden die Möglichkeiten genauerer Nachweisverfahren und die sich ergebenden Unterschiede zum Ersatzstabverfahren erörtert. In diesem Block wird auch die Berücksichtigung von Torsionsspannungen an Auflagergabeln besprochen.
Block 3 (1,5 h) Aussteifungen
Prof. Dr.-Ing. Sieder
In diesem Block werden Ersatzlasten für und ihr Zusammenspiel mit Verformungen von Verbänden thematisiert. Es wird aufgezeigt, wie Nachgiebigkeiten sowie Lastein- und ausleitungen auch bei flächigen Aussteifungen ermittelt werden können.
Block 4 (1,5 h) Numerische Berechnungen
Dr. Hochreiner
Es wird der Einsatz von Computerprogrammen bei der Lösung von Stabilitätsproblemen exemplarisch vorgeführt. Dabei werden spezielle Fragen des Ansatzes von Imperfektionen und Steifigkeiten erörtert und Ansätze für die händische Kontrolle derartiger Berechnungen aufgezeigt.
Die Anwendung von Computerprogrammen bei Stabilitätsproblemen wird anhand des Programms RSTAB der Firma Dlubal vorgeführt. Sofern die Teilnehmer ebenfalls dieses Programm nutzen sind sie herzlich eingeladen, Laptops mit installiertem Programm zum Workshop mitzubringen.
Fragen sollten von angemeldeten Teilnehmern bis zu einer Woche vor dem Workshop schriftlich eingereicht werden, um eine optimale Vorbereitung durch die Referenten zu ermöglichen. Mündliche Fragen auf dem Workshop sind aber selbstverständlich nicht ausgeschlossen. Die Anerkennungen durch die verschiedenen Ingenieurkammern wurden bereits beantragt.
Anmeldeschluss ist der 11.01.2021!
Aufgrund der begrenzten Plätze erfolgt die Vergabe der Plätze in der Reihenfolge des Eingangs der Anmeldungen.
Kosten: 400,00 EUR, Übernachtungskosten und Verpflegungskosten außerhalb der Veranstaltung gehen zu eigenen Lasten.
>>> Hier geht es zur Onlineanmeldung
>>> Zur Anmeldeformular












